Small Parts and Choking Hazard Labeling FAQs
The small parts ban at 16 C.F.R. part 1501 prevents deaths and injuries to children under three from choking on, inhaling, or swallowing small objects subject to the size requirements in 16 C.F.R. § 1501.4.
For more information, visit our small parts business guidance page.
The ban covers products that are intended for use by children under three. These products include a wide range of articles such as toys, dolls, and puzzles, nursery equipment, infant furniture, and equipment such as playpens, strollers, and baby bouncers and exercisers. See 16 C.F.R. § 1501.2(a) for a more detailed list of examples.
Yes. Toys and games that are or contain a small part, latex balloon, small ball, or marble, as defined in 16 C.F.R. § 1500.19(a), must be labeled to warn purchasers not to buy them for children of certain ages because those children could choke on the small part, balloon pieces, small ball, or marble. See 16 C.F.R. §§ 1500.19 and 1500.20.
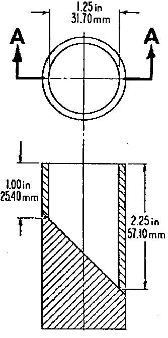
A small part is any object that fits completely into the small parts cylinder (see below and 16 C.F.R. § 1501.4), which approximates the size of the fully expanded throat of a child under three years old. A small part can be:
- A whole toy or article
- A Separate part of a toy, game, or other article
- A piece of a toy or article that breaks off during testing that simulates use or abuse by children

The rule lists general examples of the types of products that are intended for use by children under 3 years old at 16 C.F.R. § 1501.2(a).
CPSC uses the following relevant factors to determine whether a product is intended for use by children under three, see 16 C.F.R. § 1501.2(b):
- The manufacturer’s stated intent, including whether it is reasonable (such as the age stated on a label)
- The advertising, promotion, and marketing of the product as being intended for use by children of a certain age
- Whether the product is commonly recognized as being intended for use by children under 3 years old
CPSC staff’s “Age Determination Guidelines” can also help you match a product’s characteristics to the skills, play behaviors, and interests of children in specific age groups.
Firms can also request an age determination of the product by a laboratory that tests for compliance with this regulation or by another person or firm with expertise in this area (e.g., consumer product safety consultant). For more information on children’s product classification, visit our children’s product business guidance page.
Yes. Per 16 C.F.R. § 1501.3, the following are exempt from the small parts ban:
- Balloons;
- Books and other articles made of paper;
- Writing materials such as crayons, chalk, pencils, and pens;
- Children’s clothing and accessories, such as shoe lace holders and buttons;
- Grooming, feeding, and hygiene products, such as diaper pins and clips, barrettes, toothbrushes, drinking glasses, dishes and eating utensils;
- Phonograph records;
- Modeling clay and similar products;
- Fingerpaints, watercolors, and other paint sets;
- Rattles, as defined at 16 C.F.R. § 1510.2; and
- Pacifiers, as defined at 16 C.F.R. § 1511.2(a).
Further, components or pieces made entirely of paper, fabric, yarn, fuzz, elastic, string, or a combination of these materials, which have become detached from a product due to the use and abuse testing procedure, are not subject to the testing procedure for a small part and therefore excluded from the ban. See 16 C.F.R. § 1501.4(b)(2).
Use and abuse testing includes impact, flexure, torque, tension, and compression testing. These tests simulate the forces that toys and other children’s products can experience during normal use and abuse by children under 3. Per 16 CFR § 1501.4(b)(2), bite tests are excluded from this testing procedure.
16 C.F.R. § 1500.51 contains test procedures and forces that simulate use and abuse by children 0-18 months of age, and 16 C.F.R. § 1500.52 contains test procedures and forces that simulate use and abuse by children 18-36 months of age. If the intended age for your product includes both age categories, then it must be tested in accordance with the stricter of either test noted above. For example, the “impact test” is more stringent in 16 C.F.R. § 1500.51 whereas the “torque & tension” test is more stringent in 16 C.F.R. § 1500.52.
Yes. Children’s products that are or contain a hazardous substance as defined at 16 C.F.R. § 1500.3(b)(4)(i) are banned hazardous substances and may not be imported, sold, or otherwise distributed. 16 C.F.R. § 1500.18 lists specific products that are banned hazardous substances because they present a mechanical hazard.
In addition, children’s products intended for children under 3 may be subject to the following requirements:
- Total lead content per 15 U.S.C. § 1278a
- Toy safety per 16 C.F.R. part 1250
- Lead in paint or similar surface coating per 16 C.F.R. part 1303
- Phthalates per 16 C.F.R. part 1307
- Art materials per 16 C.F.R. § 1500.14(b)(8)
- Tracking labels per 15 U.S.C. § 2063(a)(5)
- Certification per 16 C.F.R. part 1110
There are also product specific requirements:
- Durable infant or toddler product per 16 C.F.R. part 1130
- Baby walkers, bouncers, or jumpers per 16 C.F.R. § 1500.18(a)(6)
- Infant pillows or cushions per 16 C.F.R. § 1500.18(a)(16)
- Electrically operated articles per 16 C.F.R. part 1505
- Rattles per 16 C.F.R. part 1510
- Pacifiers per 16 C.F.R. part 1511